新增商品(美业)
产品概述
在美业数字化转型浪潮中,银豹美业智慧管理系统顺势而生,为美容院、美甲美睫店、美发沙龙、医美机构等全业态提供全链路数字化方案,涵盖商品管理、服务预约、会员运营、营销裂变、数据分析等方面,助力商家突破传统运营瓶颈,达成精细化管理与业绩增长。
该系统由后台管理中枢、前台服务终端、客户小程序三大核心模块构成。后台整合商品库存、服务流程、会员数据,提供智能决策支持;前台支持快速开单、次卡核销与服务记录;客户小程序搭建私域流量入口,可实现在线预约、套餐购买、积分兑换等功能。
三大模块协同运作,打通从客户触达、服务交付到复购转化的全流程,借助标准化SOP流程与精准化营销工具,全方位提升门店运营效能与顾客体验,推动美业服务向智能化、生态化迈进。
商品分类
美业的品项资料有三大类型,关于商品、服务、卡项的区别:
- 产品分类:实际销售客装商品的分类(如面部护肤、身体养护、美妆套盒)
- 服务分类:需要人工劳动服务的分类(如美甲、纹绣、剪发)
- 卡项分类:会员购买次卡项目的卡项分类(如面部专案卡项、肩颈按摩卡项)
操作步骤:登录云后台,点击【商品】—【商品分类】—选择【对应分类模块后点击新增分类】

商品资料录入
商品的定义:是指客装商品 ,实物商品 ,比如洗发水、沐浴露、美工刀。(实体商品,有库存数量)
-
逐个新增商品
操作步骤:云后台点击【商品】—【商品资料】—左上角点击【新增】按钮,填入基本信息后保存输入所有必填项,商品条码可自动生成或手动输入。(带*为必填项)
/02新增商品(美业)/01新增商品资料.png)
-
批量导入商品
操作步骤:登陆云端后台,【商品】—【商品资料】,点击左上角【导入】按钮,下载模板表格,在表格中填写好商品信息后,再次点击导入按钮,可批量导入表格中的商品至系统。
注:一次最多导入1500条商品资料。

服务资料录入
服务的定义:是指需要人工服务是项目 ,比如面部小气泡清洁。(服务是人工做的,虚拟商品 没实际库存)
-
逐个新增服务
操作步骤:云后台点击【商品】—【服务资料】—左上角点击【新增】按钮,填入基本信息后保存输入所有必填项,商品条码可自动生成或手动输入。(带*为必填项)
/02新增商品(美业)/02新增服务资料.png)
-
批量导入服务
操作步骤:登陆云端后台,【商品】—【服务资料】,点击左上角【导入】按钮,下载模板表格,在表格中填写好商品信息后,再次点击导入按钮,可批量导入表格中的商品至系统。
注:一次最多导入1500条服务资料。

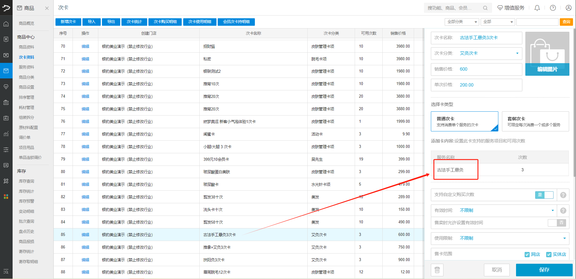
录入次卡资料
-
普通次卡
普通次卡的定义:是指购买这个服务 ,之后可使用的次数,比如:面部小气泡清洁10次卡(次卡也是虚拟商品,没实际库存)
操作步骤:云后台点击【商品】—【次卡资料】—左上角点击【新增次卡】(默认开启计次,输入次卡名称等信息,注意:次卡名称要有次数,如:美嫩肤卡10次)
选择卡项类型—【普通次卡】—【添加服务】并填写对应服务次数
注:一次最多导入50条次卡资料。
/02新增商品(美业)/03新增次卡资料.png)
-
套餐次卡
套餐次卡的定义:可限定每次在多个服务项目中消费一个或多个服务,按次消费。
操作步骤:云后台点击【商品】—【次卡资料】—左上角点击【新增次卡】(默认开启计次,输入次卡名称等信息,注意:次卡名称要有次数,如:综合套餐卡8次)
选择卡项类型—【套餐次卡】—【添加服务】,一次性添加多个服务项目(并设置项目共服务X次,每次消费可任选X个服务计为划卡一次)
/02新增商品(美业)/04创建套餐次卡.gif)
-
多服务次卡
多服务次卡的定义定义:一次性购买多个服务项目,并且每个项目次数固定。
操作步骤:云后台点击【商品】—【次卡资料】—左上角点击【新增次卡】(默认开启计次,输入次卡名称等信息,注意:次卡名称要有次数,如:美嫩肤卡10次)
选择卡项类型—【普通次卡】—【添加服务】,一次性添加多个服务项目,并设置每个项目固定使用次数。
示例:美甲服务1次,美容服务3次,小气泡5次组合
注:多服务次卡不支持表格导入操作。
/02新增商品(美业)/05创建多服务次卡.gif)
-
不计次卡、不限次卡
不计次卡的定义:限定次卡周期内可用天数(如月卡、季卡、年卡),支持按日/周/月设置最高使用频次。
操作步骤:云后台点击【商品】—【次卡资料】—左上角点击【新增次卡】,是否计次选择【否】,正常添加服务项目,两个以上项目不限次选择套餐次卡添加,填写有效时间(如月卡30天,季卡90天,年卡365天)
不计次卡的生效方式:可选择【购买当天生效】或【首次使用生效】
不计次卡的使用限制:可选择【不限制】、【每日限制次数】、【每周限制次数】、【每月限制次数】
/02新增商品(美业)/06创建不计次卡.gif)
品牌管理
录入商品时,可为商品添加品牌,便于后期查看营业占比分析时,可查看每个品牌的销售情况。
操作步骤:云后台点击【商品】—【商品资料】—【编辑商品】,在商品详情框中找到商品品牌,添加所需品牌后选择,保存。

商品批量设置
功能说明:通过批量选择,一次性实现多个商品的各类关键操作。
操作步骤:云后台点击【商品】—【商品设置】,选择具体操作—选择目标商品—进行操作设置—保存批量修改。
操作功能包含:
- 常规操作:更改商品分类、更改商品品牌、批量删除商品、批量添加商品标签
- 价值变动:更改商品会员价、更改商品积分、设置商品报损价
- 属性判断:设置固价商品、设置时价商品、设置称重商品、设置服务商品、设置可预约、设置赠品
- 商品显示:启用或禁用商品、设置商品显隐
- 订货相关:更改商品供货商

耗材管理
耗材管理定义:选择服务和商品时可选择不同规格耗材(如不同规格面膜、奶茶小料),可理解为设置耗材包应用到多个商品,会扣减库存。
场景示例:面部补水项目选择耗材(加强版补水50ml玻尿酸、温和版补水30ml玻尿酸)
耗材组新增
操作步骤:云后台点击【商品】—【耗材管理】,左上角点击新增耗材组,输入名称,添加耗材选项,绑定适用商品范围后保存

前台演示说明:
原材料配置
原材料定义:系统支持建立服务商品、次卡项目与原材料的一对一消耗关系,实现自动化库存扣减。
场景示例: 每核销一张次卡,自动扣减1个关联的商品套盒库存
绑定次卡原材料:要当场买次卡就减库存,就次卡绑定原材料
操作步骤:云后台点击【商品】—【原材料配置】—【编辑】—【添加原材料】,绑定对应的商品套盒。
/02新增商品(美业)/07绑定次卡原材料.png)
场景示例: 每次完成洗脸服务,系统自动扣除1片关联的面膜库存。
绑定服务原材料:要耗卡时减库存,就次卡绑定的服务商品去绑定原材料
操作步骤:云后台点击【商品】—【原材料配置】—【编辑】—【添加原材料】,找到次卡绑定的服务项目,绑定面膜等客装商品
/02新增商品(美业)/08原材料设置找到次卡绑定的服务.png)
服务项目绑定原材料,顾客来划卡一次,扣减一次商品库存
/02新增商品(美业)/09绑定服务原材料.png)
原材料配置视频教程演示
项目用品
项目用品定义:美业门店给顾客做服务项目时,罗列服务相关器材和用品详细名称,在收银小票上打印相关用品信息(如营养成本),不会扣减库存。
操作步骤:云后台点击【商品】—【项目用品】—【编辑】—【+用品】,添加做服务项目所需要的用品或成分展示。
/02新增商品(美业)/11项目用品设置.png)
项目用品小票展示
/02新增商品(美业)/12项目用品小票.png)
